
產品詳情
Z41H鑄鋼閘閥產品概述:
鑄鋼閘閥是最常用的截斷閥之一,主要用來接通或截斷管路中的介質,不適用于調節介質流量。鑄鋼閘閥適用的壓力、溫度及口徑范圍很大,尤其適用于中、大口徑的管道。 公稱尺寸 DN15~DN800,公稱壓力 1.6MPa~20.0MPa,密封面采用石棉石墨或柔性石墨,工作溫度 ≤570℃,操作方式有手動、齒輪傳動、電動、氣動等,適用于水、蒸汽、油品介質管路中。
產品特點
1.結構緊湊,設計合理,閥門剛性好,通道流暢,流阻系數小。
2.密封面為不銹鋼或硬質合金,使用壽命長。
3.采用石棉石墨或柔性石墨,密封可靠,操作輕便靈活。
4.可采用各種配管法蘭標準及法蘭密封面形式,滿足各種工程需要及用戶要求。
5.廣泛應用于石油、化工、水力、火力電站各種系統的管路上。
Z41H、Z41Y、Z41W 型 PN16~PN200 鋼制楔式閘閥:手動、法蘭連接形式、明桿楔式剛性單閘板,閥座密封面材料為不銹鋼,公稱壓力 PN16~PN200,閥體材料為碳素鋼(Z41H-16C Z41H-25 Z41Y-16C Z41Y-25 Z41H-40~200)、不銹鋼(Z41W-16P Z41W-25P Z41Y-16P Z41Y-25P Z41W-16R Z41W-25R Z41Y-16R Z41Y-25R Z41H-40P~200P Z41H-40R~200R)、合金鋼(Z41Y-16I Z41Y-25I Z41Y-16V Z41Y-25V Z41H-40I~200I)的閘閥。
Z41 閘閥適用于工作壓力 1.6~20.0MPa,工作溫度 -29℃~570℃的石油、化工、水力、火力電站各種系統的管路上,切斷或接通管路介質。適用介質為:水、油品、蒸氣、及酸、堿、氨、尿素、含硫天然氣等。
鑄鋼閘閥主要性能參數
Z41H、Z41Y、Z41W 型 PN16~PN200 鋼制楔式閘閥主要性能參數
|
||||
型號
|
PN
|
工作壓力 / MPa
|
適用溫度 / ℃
|
適用介質
|
Z41H-16C、25
|
16、25
|
1.6、2.5
|
≤425
|
水、蒸汽、油品
|
Z41Y-16C、25
|
||||
Z41W-16P、25P
|
16、25
|
1.6、2.5
|
≤150
|
弱腐蝕性介質
|
Z41Y-16P、25P
|
||||
Z41W-16R、25R
|
||||
Z41Y-16R、25R
|
||||
Z41Y-16I、25I
|
≤550
|
油品、蒸汽
|
||
Z41Y-16V、25V
|
≤570
|
水、蒸汽、油品
|
||
Z41H-40~200
|
40~200
|
4.0~20.0
|
≤425
|
水、蒸汽、油品
|
Z41H-40I~200I
|
40~200
|
4.0~20.0
|
≥550
|
水、蒸汽、油品
|
Z41H-40P~200P
|
40~200
|
4.0~20.0
|
≤200
|
硝酸類
|
Z41H-40R~200R
|
40~200
|
4.0~20.0
|
≤200
|
硝酸類
|
鑄鋼閘閥主要零件材料
Z41H、Z41Y、Z41W 型 PN16~PN200 鋼制楔式閘閥零部件材料
|
||||
型號
|
材料
|
|||
閥體、閥蓋、閘板
|
閥桿
|
密封面
|
填料
|
|
Z41H-16C、25
|
碳素鋼
|
鉻不銹鋼
|
堆焊鐵基合金
|
石棉石墨或柔性石墨
|
Z41Y-16C、25
|
堆焊硬質合金
|
|||
Z41W-16P、25P
|
鉻鎳鈦不銹鋼
|
鉻鎳鈦不銹鋼
|
本體材料
|
石棉石墨或柔性石墨
|
Z41Y-16P、25P
|
堆焊硬質合金
|
|||
Z41W-16R、25R
|
鉻鎳鉬鈦不銹鋼
|
鉻鎳鉬鈦不銹鋼
|
本體材料
|
|
Z41Y-16R、25R
|
堆焊硬質合金
|
|||
Z41Y-16I、25I
|
鉻鉬合金鋼
|
鉻鉬合金鋼
|
堆焊硬質合金
|
|
Z41Y-16V、25V
|
鉻鉬釩鋼
|
鉻鉬釩鋼
|
堆焊硬質合金
|
柔性石墨
|
Z41H-40~200
|
碳鋼
|
鉻不銹鋼
|
碳鋼+Cr13或硬質合金
|
柔性石墨
|
Z41H-40I~200I
|
鉻鉬鋼
|
合金鋼
|
合金鋼+硬質合金
|
柔性石墨
|
Z41H-40P~200P
|
鉻鎳鈦鋼
|
不銹鋼
|
不銹鋼或不銹鋼+硬質合金
|
柔性石墨
|
Z41H-40R~200R
|
鉻鎳鉬鈦鋼
|
不銹鋼
|
不銹鋼或不銹鋼+硬質合金
|
柔性石墨
|
![]() |
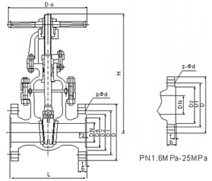
鑄鋼閘閥主要外形尺寸
Z41H、Z41Y、Z41W 型 PN16 鋼制楔式閘閥主要外形及結構尺寸(mm)
|
||||||||||
DN
|
L
|
D
|
D1
|
D2
|
b
|
f
|
z-φd
|
H
|
D0
|
重量 / kg
|
15
|
130
|
95
|
65
|
45
|
14
|
2
|
4-φ14
|
175
|
200
|
4
|
20
|
150
|
105
|
75
|
55
|
14
|
2
|
4-φ14
|
180
|
200
|
5
|
25
|
160
|
115
|
85
|
65
|
14
|
2
|
4-φ14
|
210
|
200
|
6
|
32
|
180
|
135
|
100
|
78
|
16
|
2
|
4-φ18
|
210
|
200
|
7
|
40
|
200
|
145
|
110
|
85
|
16
|
3
|
4-φ18
|
350
|
200
|
19
|
50
|
250
|
160
|
125
|
100
|
16
|
3
|
4-φ18
|
358
|
240
|
29
|
65
|
265
|
180
|
145
|
120
|
18
|
3
|
4-φ18
|
375
|
240
|
33
|
80
|
280
|
195
|
160
|
135
|
20
|
3
|
8-φ18
|
433
|
280
|
45
|
100
|
300
|
215
|
180
|
155
|
20
|
3
|
8-φ18
|
502
|
320
|
63
|
125
|
325
|
245
|
210
|
185
|
22
|
3
|
8-φ18
|
612
|
360
|
108
|
150
|
350
|
280
|
240
|
210
|
24
|
3
|
8-φ23
|
676
|
360
|
134
|
200
|
400
|
335
|
295
|
265
|
26
|
3
|
12-φ23
|
820
|
400
|
192
|
250
|
450
|
405
|
355
|
320
|
30
|
3
|
12-φ25
|
969
|
450
|
273
|
300
|
500
|
460
|
410
|
375
|
30
|
4
|
12-φ25
|
1142
|
560
|
379
|
350
|
550
|
520
|
470
|
435
|
34
|
4
|
16-φ25
|
1280
|
640
|
590
|
400
|
600
|
580
|
525
|
485
|
36
|
4
|
16-φ30
|
1452
|
640
|
850
|
450
|
650
|
640
|
585
|
545
|
40
|
4
|
20-φ30
|
1541
|
720
|
907
|
500
|
700
|
705
|
650
|
608
|
44
|
4
|
20-φ34
|
1676
|
720
|
958
|
600
|
800
|
840
|
770
|
718
|
48
|
5
|
20-φ41
|
1874
|
800
|
1112
|
Z41H、Z41Y、Z41W 型 PN25 鋼制楔式閘閥主要外形及結構尺寸(mm)
|
||||||||||
DN
|
L
|
D
|
D1
|
D2
|
b
|
f
|
z-φ;d
|
H
|
D0
|
重量 / kg
|
15
|
130
|
95
|
65
|
45
|
16
|
2
|
4-φ14
|
175
|
200
|
4
|
20
|
150
|
105
|
75
|
55
|
16
|
2
|
4-φ14
|
180
|
200
|
5
|
25
|
160
|
115
|
85
|
65
|
16
|
2
|
4-φ14
|
210
|
220
|
6
|
32
|
180
|
135
|
100
|
78
|
18
|
2
|
4-φ18
|
210
|
220
|
7
|
40
|
200
|
145
|
110
|
85
|
18
|
3
|
4-φ18
|
350
|
220
|
18
|
50
|
250
|
160
|
125
|
100
|
20
|
3
|
4-φ18
|
358
|
250
|
25
|
65
|
265
|
180
|
145
|
120
|
22
|
3
|
8-φ18
|
373
|
280
|
35
|
80
|
280
|
195
|
160
|
135
|
22
|
3
|
8-φ18
|
435
|
300
|
50
|
100
|
300
|
230
|
190
|
160
|
24
|
3
|
8-φ23
|
500
|
350
|
65
|
125
|
325
|
270
|
220
|
188
|
28
|
3
|
8-φ25
|
614
|
400
|
100
|
150
|
350
|
300
|
250
|
218
|
30
|
3
|
8-φ25
|
674
|
450
|
135
|
200
|
400
|
360
|
310
|
278
|
34
|
3
|
12-φ25
|
818
|
500
|
180
|
250
|
450
|
425
|
370
|
332
|
36
|
3
|
12-φ30
|
969
|
550
|
207
|
300
|
500
|
485
|
430
|
390
|
40
|
4
|
16-φ30
|
530
|
560
|
400
|
350
|
550
|
550
|
490
|
448
|
44
|
4
|
16-φ34
|
1280
|
640
|
631
|
400
|
600
|
610
|
550
|
505
|
48
|
4
|
16-φ34
|
1450
|
640
|
900
|
450
|
650
|
660
|
600
|
555
|
50
|
4
|
20-φ34
|
1541
|
720
|
1013
|
500
|
700
|
730
|
660
|
610
|
52
|
4
|
20-φ41
|
1676
|
720
|
1166
|
600
|
800
|
840
|
770
|
718
|
56
|
5
|
20-φ41
|
1874
|
800
|
1258
|
700
|
900
|
955
|
875
|
815
|
60
|
5
|
24-φ48
|
2280
|
850
|
|
800
|
1000
|
1070
|
990
|
930
|
64
|
5
|
24-φ48
|
2420
|
900
|
|
Z41H、Z41Y、Z41W 型 PN40、PN63 鋼制楔式閘閥主要外形及結構尺寸(mm)
|
|||||
DN
|
L
|
D
|
H
|
W
|
重量 / kg
|
50
|
250
|
160
|
685
|
250
|
30
|
175
|
30
|
||||
65
|
280
|
180
|
705
|
250
|
41
|
200
|
300
|
42
|
|||
80
|
310
|
195
|
780
|
250
|
48
|
210
|
350
|
51
|
|||
100
|
350
|
230
|
805
|
300
|
78
|
250
|
400
|
80
|
|||
125
|
400
|
270
|
890
|
350
|
112
|
295
|
400
|
125
|
|||
150
|
450
|
300
|
945
|
350
|
152
|
340
|
1002
|
450
|
175
|
||
200
|
550
|
375
|
1100
|
400
|
200
|
405
|
1150
|
450
|
220
|
||
250
|
650
|
445
|
1350
|
450
|
300
|
470
|
500
|
320
|
|||
300
|
750
|
510
|
1445
|
500
|
450
|
530
|
1528
|
650
|
490
|
||
350
|
850
|
570
|
1665
|
680
|
|
595
|
1792
|
700
|
|||
400
|
950
|
655
|
1930
|
850
|
|
670
|
2180
|
920
|
|||
Z41H、Z41Y、Z41W 型 PN100 鋼制楔式閘閥主要外形及結構尺寸(mm)
|
|||||
DN
|
L
|
D
|
H
|
W
|
重量 / kg
|
50
|
250
|
195
|
680
|
300
|
48
|
65
|
280
|
220
|
720
|
300
|
68
|
80
|
310
|
230
|
870
|
350
|
92
|
100
|
350
|
265
|
885
|
400
|
133
|
125
|
400
|
310
|
1020
|
450
|
216
|
150
|
450
|
350
|
1110
|
500
|
275
|
200
|
550
|
430
|
1225
|
500
|
360
|
250
|
650
|
500
|
1257
|
550
|
700
|
Z41H、Z41Y、Z41W 型 PN160 鋼制楔式閘閥主要外形及結構尺寸(mm)
|
|||||
DN
|
L
|
D
|
H
|
W
|
重量 / kg
|
65
|
340
|
245
|
820
|
350
|
110
|
80
|
390
|
260
|
850
|
350
|
145
|
100
|
450
|
300
|
980
|
400
|
192
|
125
|
525
|
355
|
1050
|
450
|
307
|
Z41H、Z41Y、Z41W 型 PN200 鋼制楔式閘閥主要外形及結構尺寸(mm)
|
|||||
DN
|
L
|
D
|
H
|
W
|
重量 / kg
|
50
|
350
|
210
|
712
|
350
|
108
|
65
|
410
|
260
|
765
|
400
|
195
|
80
|
470
|
290
|
835
|
450
|
250
|
100
|
550
|
360
|
950
|
500
|
350
|
125
|
650
|
385
|
1080
|
500
|
540
|
150
|
750
|
440
|
1140
|
600
|
738
|





